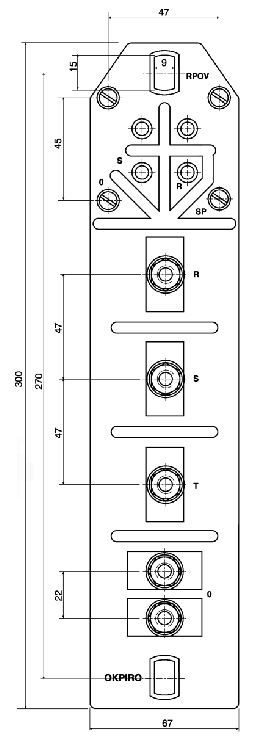
PRIKLJUČNA PLOČA ZA STUBOVE JAVNE RASVETE PPROV III
Izradjuju se od specijalne poliesterske smole. Ugrađuje se u stubove javne rasvete većih dimenzija i većeg preseka napojnih kablova.
Tehničke karakteristike:
- Nazivni napon: 450 V
- Nazivna struja osigurača: max. 16 A
- Broj osigurača: 2
- Broj priključnih provodnika: 4
- Temperatura izdržljivosti: -50 do 130ºC
Kodni broj: 3900383








